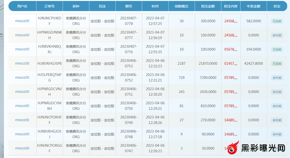
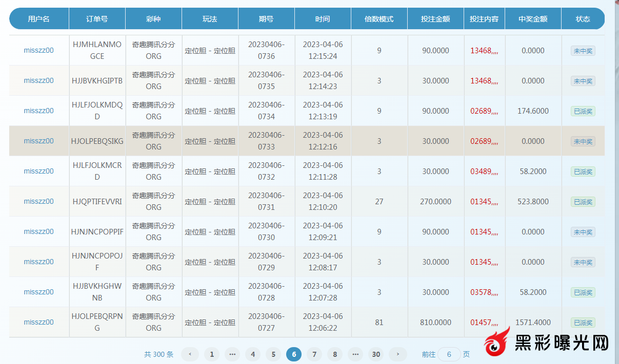
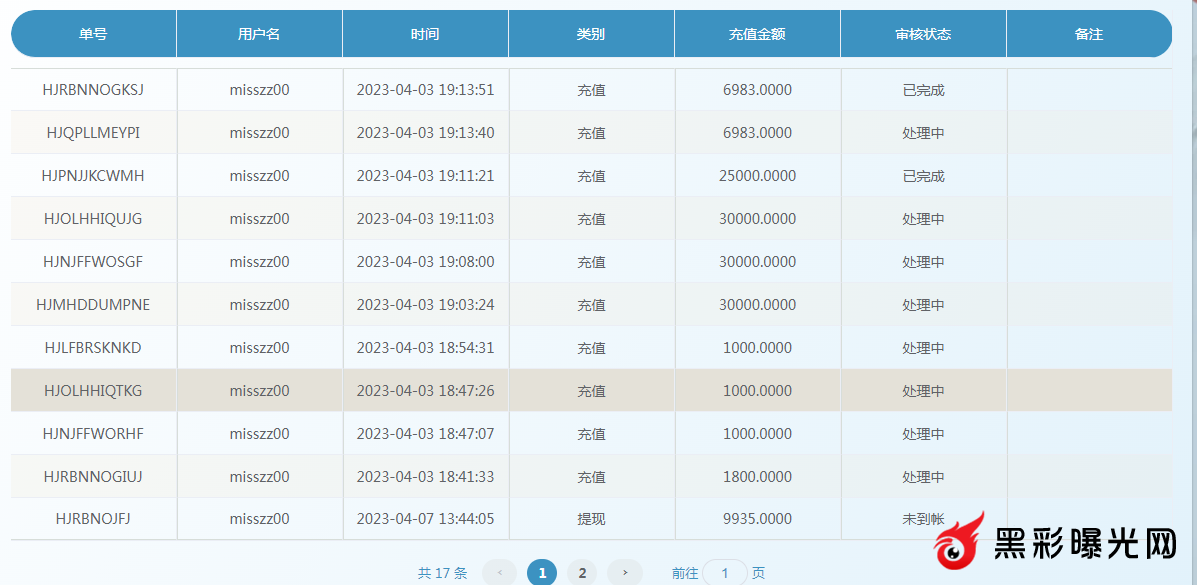
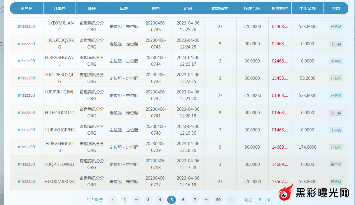
黑平台曝光

版块规则曝光一切黑平台的一切不道德行为;我们公平公正、实事求是的进行报道,为您的权益发声!

已有 247 个帖子

wang520
2023-04-18 发表
11347位围观了该问题 0 3
amethyst
2023-04-10 发表
12576位围观了该问题 0 3
合景大黑台
2023-04-08 发表
9020位围观了该问题 0 4
欧弟
2023-04-04 发表
10176位围观了该问题 0 2
yz16888
2023-04-01 发表
14208位围观了该问题 0 1
中中中发发发
2023-04-01 发表
6746位围观了该问题 0 2
gaojin9999
2023-03-17 发表
13729位围观了该问题 0 2
必须赚
2023-03-15 发表
13498位围观了该问题 0 3
金洋八面佛24万陈清
2023-03-11 发表
12585位围观了该问题 1 0
bd779
2023-03-11 发表
9289位围观了该问题 0 2
王大拿
2023-03-09 发表
16699位围观了该问题 0 0
qwqw12123
2023-03-04 发表
5341位围观了该问题 0 0
狗逼合景黑钱平台
2023-01-25 发表
8866位围观了该问题 0 3
别欺负老实人
2023-01-22 发表
6431位围观了该问题 0 0
y136678565
2023-01-07 发表
6979位围观了该问题 0 0
凯文@kaiwen4444
2022-12-21 发表
7383位围观了该问题 0 0

官方唯一指定账号

TG群:
@heicai
TG:
@heicai_Bot