合景黑平台,只能输钱不能赢钱。
如有不适,请发表澄清说明
如有不适,请发表澄清说明
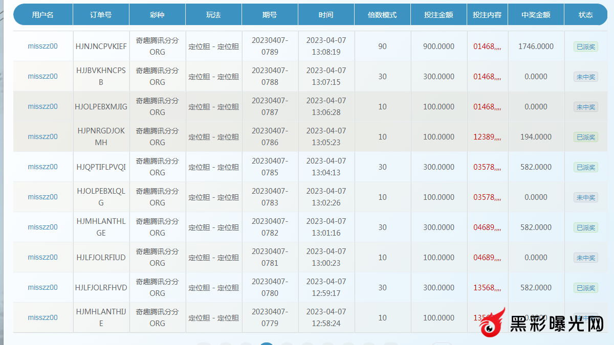
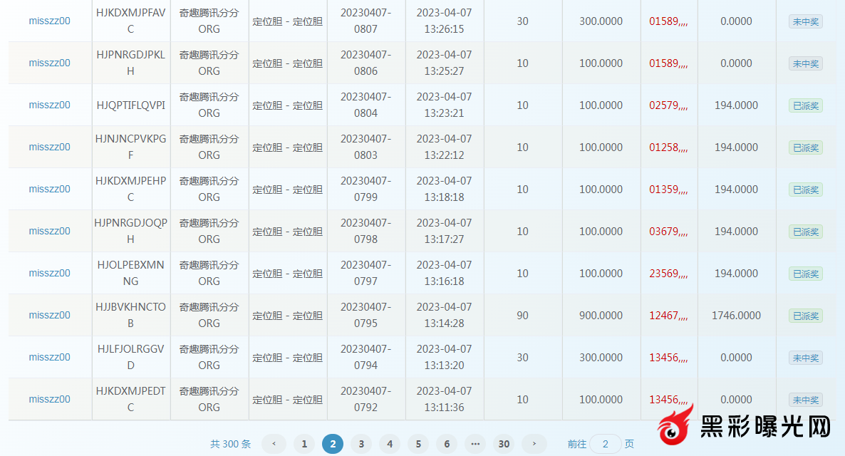
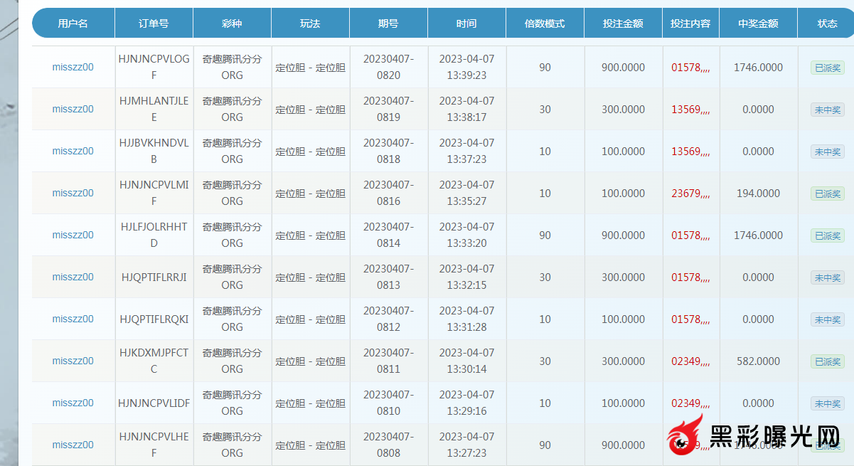
合景平台 打的新奇趣,正常的五码倍投,照着众赢打的 说我对刷。 还要我十分钟内提供 手持身份证银行卡视频,还让我开手机网络 打开地图定位 在当地录视频,说十分钟提供不了直接冻结。 我2023-4-03 晚七点多充值两笔 一笔25000 一笔 6983 三天 打新奇趣 五码倍投 盈利27951 四月七号晚 提9935 未到账 被客服要求 ,还让我联系市场管理,但市场管理上线不看消息 不回复。我所有的和专线聊天记录和 投注记录 充提记录 都在下方,











