菲银空汇本金及盈利2万余元,客服关闭服务
如有不适,请发表澄清说明
如有不适,请发表澄清说明
平台:菲银
上级:3007521908
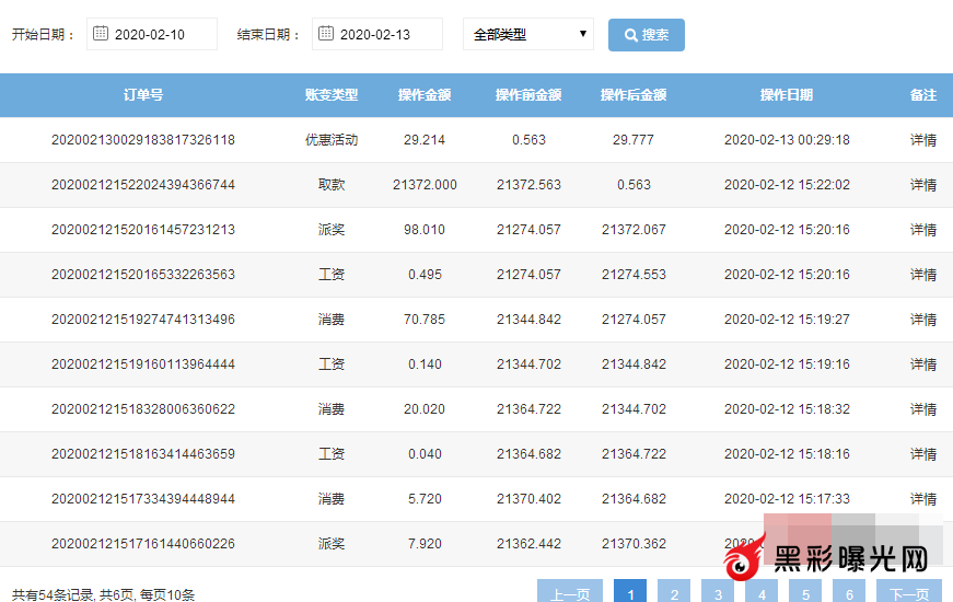
经过:当事人与2月12日在非银在线充值一万元,盈利一万多账号余额21372进行提现,但是迟迟未到账,然后联系客服,客服表示商户问题,如果24小时未到账,余额会返回账户。
24小时后联系客服,客服一直不予回复,随后关闭回复,联系上级,上级也不予回复。
资料整理如下
下图为提现未到联系客服截图











下一篇:盛图删除账号15余万不与出款
