如有不适,请发表澄清说明
注:按照文档整理,本人未作大意修改
平台:摩登3
上级:29999
上级QQ:313322
上级QQ:99878787
上级QQ:545545555
上级昵称:卧龙,暂未改名
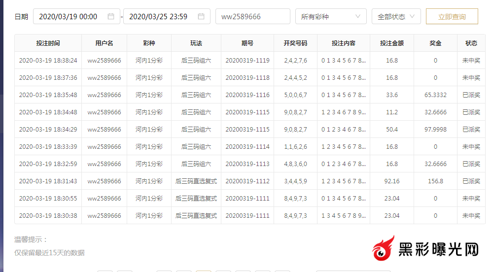
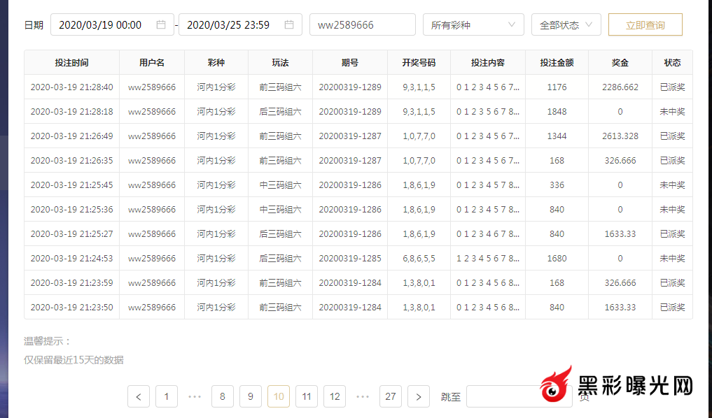
经过:本人帐号admin888,下级会员于3月19日下午注册帐号 ww2589666,充值99元,投注猎杰系列推出的【河内分分彩】,
前后盈利加反水14.5w余元,投注玩法为 组六杀1码,所有投注记录正常,平台冻结账户后风控部门查询过,但账户锁定是需要直属上级来联系平台解冻的,第一笔提现4000未到账,客服解释正值菲律宾菠菜大楼消杀阶段,第二笔提现10w,手机APP上直接闪退,再次登录就提示账户被锁定。
会员认可猎杰系列这个品牌,当天并未说什么,因为当时所有猎杰系列的平台充值全部迟滞,在第一个账户ww2589666没有解决问题的情况下,次日又注册ww258966666账户,充值500,最多也只打到了2.3w盈利,不过这一轮运气不好没有再盈利那么多,最终洗白了。
我反复联系我的直接上级卧龙,他最后给我的答复是,该会员投注有问题,怀疑使用科技软件窃取平台开奖源,建议我直接拉黑会员,我想问问你,河内系列的菜种 在业界谁不知道是猎杰集团推出的?还科技软件窃取平台开奖源,你说的话就不能过一点脑子?如果真是作弊漏洞,平台会只冻结锁定账户,不会给你清空余额吗?
然后该会员的注册IP,绑定的地址,银行卡,出款人信息被猎杰集团所有其他平台全部拉黑,你们自己集团推出的菜种莫非是 只能输 不能赢? 当年陈刀仔用20w都能赢2000w,我下级用99赢14.5w就不行?那按照这样说,其他人投注在河内分分彩 输掉的钱 是不是也是被你们公司用科技软件操作 造成最终洗白的?
资料整理如下

























